圣保羅研發“匠心扣” 匠心獨具扣人心弦
點擊分享
使用手機微信“掃一掃”功能,掃描以下二維碼,即可將本文分享到“朋友圈”中
發布人:admin????時間:2016-12-20????瀏覽量:3031次
木本無華,雕琢而成經典;世本無路,探索而成永恒;圣保羅地板,正朝著“百年品牌·行業標桿”的目標堅定邁進。圣保羅致力于地板每個細節的完善,本著匠心精神克服現有技術的缺陷,發明了新的實木地板安裝固定卡扣——匠心扣。匠心扣的誕生,凝結了無數圣保羅匠人的心血,這一技術創新無疑為消費者營造了更優質的家居生活,同時為推動中國地板產業的發展做出了巨大貢獻。
眾所周知,目前市場上銷售的實木地板,買回來實際上只是半成品,只有通過科學嚴謹的安裝,才構成一個完成的地板產品。地板安裝的工序十分復雜,安裝時要盡量保持安裝場所的平整、干燥、無雜物,安裝過程中需要裝釘木龍骨,首先在地面上釘木底樁,然后再將木龍骨固定在木底樁上,普通平扣地板在鋪裝過程中需用膠粘劑連接,含有甲醛成分的膠粘劑用多了易造成室內污染,使用量少亦會產生連接不牢的問題;相對于平扣地板,鎖扣地板可以免膠鋪裝,容易裝拆卸方便重新使用,對基材的要求更嚴格,其鎖力主要是取決于企口與舌榫的連接,在一般情況下鎖扣地板需要承受的拉力比較大,所以鎖扣地板的基材密度和相對濕度一定要保持穩定。

匠心扣結構剖析圖
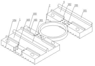
匠心扣拉力環實物圖及固定扣件實物圖
圣保羅是激情、夢想的代名詞,當激情遇上了夢想,于是就有了如今心遠者觀天下的“匠心扣”(文末附安裝原理)。通過木地板固定卡扣來固定木地板是一次偉大的革新,木地板無需使用釘子固定,避免釘子的釘入破壞木材組織;匠心扣使地板安裝更方便、維護更省時,安裝后天衣無縫,不易藏污納垢,即使在縫隙里倒水也不容易滲透到地板底面針對木地板熱脹冷縮,濕脹干縮的特性,拉力環可實現與木地板同步收縮,避免木地板間因收縮或膨脹導致翹曲、開裂等情況;不僅如此,它還簡化了前期準確測量擺放位置的步驟,利用鎖扣技術減少了手工鋪裝的誤差。據介紹,匠心扣選材由日豐管材料做成,可保用50年以上。
安裝實物圖(圖中地板僅為示范樣板,具體以實際安裝標準板為準)
品牌誕生詮釋著一種文化內涵,其背后定然代表的是產品質量。品質與品牌是圣保羅地板的重要資源和企業的發展命脈,從圣保羅地板的精致紋理,看到的是企業秩序的存在。著眼目前,行業市場魚龍混雜,良莠不齊,無序的競爭不斷傷害著這個市場,但圣保羅一直在這個混亂的大環境下堅持自己的技術研發,滄海橫流,堅持英雄本色;放眼未來,圣保羅會堅持品牌立業,始終充當地板界優雅的舞者,讓圣保羅地板光芒更好的綻放,在圣保羅地板的不懈努力下,定會影響到國內地板行業更有序的發展。
附:匠心扣安裝原理及專利證書圖
(匠心扣安裝原理:通過在連續二塊以上木地板之間設置木地板固定卡扣,以實現木地板之間的安裝固定,安裝木地板時將拉力環的兩端分別與單固定扣件和雙固定扣件連接成組合件;將多套組合件的單固定扣件靠近墻體或建筑構件一側,各組合件之間校直、校正、校平后,將單固定扣件的位置固定;將木地板塊依次卡入單固定扣件和雙固定扣件之間;將拉力環的兩端分別與已鋪設木地板的雙固定扣件和待連接的雙固定扣件連接,將新連接的雙固定扣件校平后,將木地板塊依次卡入兩固定扣件之間,重復本步驟過程,至安裝完畢;其中,收尾處靠近墻體或建筑構件的收邊木地板可能是與同一批次出廠木地板規格尺寸相同,未經施工現場切割的整塊木地板,也可能是為了滿足鋪設地面大小,形狀要求,用整塊木地板在施工現場經切割后的非整塊木地板。若收邊木地板為非整塊木地板,其一側與雙固定扣件連接,未與雙固定扣件連接的另一側用墊板墊入木地板的下方,將木地板墊平,若收尾處靠近墻體或建筑構件的收邊木地板為整塊木地板,收尾處拉力環近墻體或建筑構件端與單固定扣件連接,木地板塊卡入兩固定扣件之間;安裝完畢后各拉力環承受拉力,將地板拉緊。)
專利證書文件